MLS-50 Swinging-Bucket Rotor

Product No:367280

MLS-50 Rotor Package, Swinging-Bucket Rotor, Aluminum. Major Applications: Rate-zonal separation of subcellular organelles, pelleting and isopycnic separations of RNA. For use in Optima MAX-XP Benchtop Ultracentrifuge.

Especificaciones

Platform Tabletop UCF
Rotor Type Swinging-Bucket (Ultracentrifugation)
Maximum RPM 50,000 rpm
Max g-Force 268,000 xg
k-Factor 71
Adapters 355535, 356860, 358153, 361678
Number of Tubes 13 x 51 mm, 4 x 5 mL
Nominal Capacity 20mL
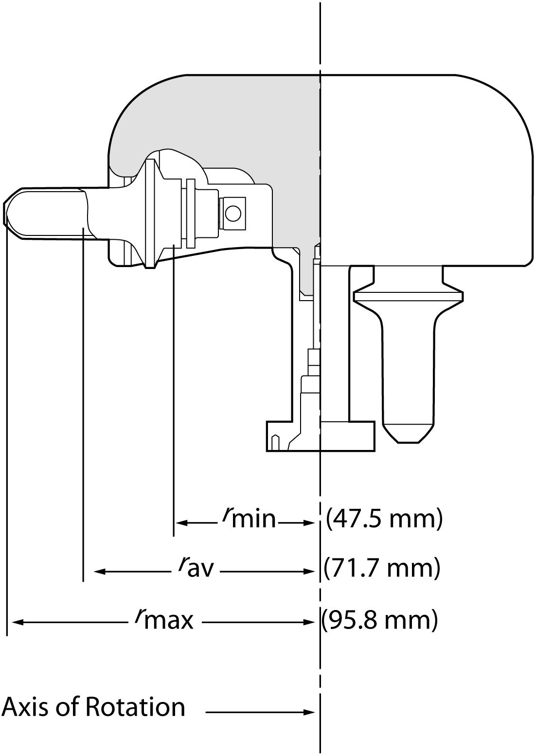
rMAX 95.8
rMIN 47.5
rAV 71.7 mm
BioSafe Bio-Enhanced
Materials Aluminum
Package Quantity 1